תשכחו מרחפנים: אמאזון מציגה את הדבר הבא
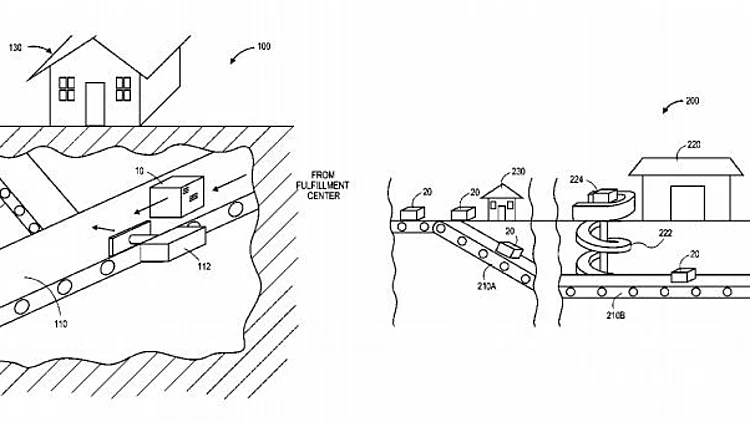
באוויר, בים ועכשיו גם מתחת ליבשה? אחרי שאמזון רשמה פטנט על מחסני ענק מעופפים החברה בוחנת העברת חבילות גם מתחת לאדמה
נענע10 Online | 09.01.2017

אמאזון | צילום: אמאזון
אחרי שהציגה רחפני ענק וגם- מחסני ענק שירחפו באויר מגיע השלב הבא: החברה רשמה פטנט על רשת מנהרות תת קרקעיות בתקווה להגיע במהירות שיא ללקוחותיה. מדע בדיוני או השלב הבא? צפו בכתבתה של מעיין פרילוק



